Search
Apple Car with no windows

פטנט אפל לרכב מציג גישה חדשה לבטיחות

בעוד שכל העיניים נשואות ל-Vision Pro, אפל כבר מזמן עובדת על חומרה שתגרום ל-MSRP של אוזניות ה-AR להיראות כמו החלפת כיס: מכונית בנהיגה עצמית של 100,000 דולר.

מה שנקרא Apple Car לא יגיע בזמן הקרוב – לאחרונה שמענו, הוא נדחק לשנת 2026 לכל המוקדם – אבל החברה ממשיכה לעבוד על זה מאחורי הקלעים. מוקדם יותר החודש דווח כי אפל העלתה את מספר מכוניות המבחן בשניים ל-68 – עדיין דג קטן בהשוואה למכוניות כמו Zoox, Waymo וקרוז, שיש להן מאות כל אחת, אך בכל זאת מתקדמים.

בניגוד לרכבים רגילים שבהם המושבים קבועים במקומם, החלום של אפל קאר הוא לפי הדיווחים לאפשר למושב להסתובב, להחליק ולהישען למצבים שונים בזמן שהרכב מסיע אותך.

אבל זה מהווה בעיה עבור כריות אוויר. במכוניות עם מקומות ישיבה קבועים, ליצרנים יכולים להיות מושג די טוב היכן יהיה הראש שלך במקרה של תאונה. הרבה יותר קשה לחזות את זה עם ישיבה גמישה.

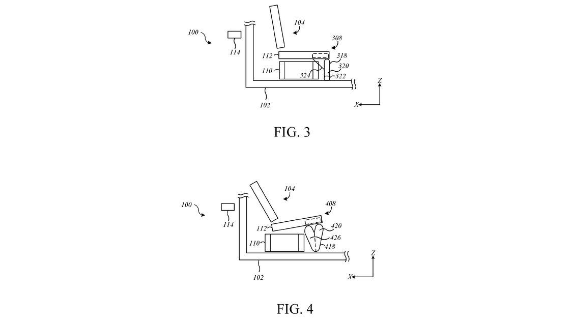
נראה שאפל הקדישה מחשבה לדילמה הזו. פטנט שזוהה על ידי Patently Apple מציג פתרון אחד, שבו כריות אוויר מאוחסנות מתחת למושבים ולא במשטחים פנימיים. במילים אחרות, המושב שאליו אתה פונה יאחסן את כרית האוויר שבתקווה תציל את חייך במקרה של תאונה.

זוג תמונות מתוך בקשת הפטנט

"המערכת כוללת מערכת חיישנים המוגדרת לזהות אירוע קרוב, לזהות נושב שפונה למושב, ולזהות חפץ שמור מתחת למושב", נכתב בסיכום הפטנטים. "המערכת כוללת גם כרית אוויר (למשל, ריסון) המוגדרת להיפתח מהמושב, ריסון תנועת הנוסע הפונה למושב, וריסון תנועת החפץ האוחסן מתחת למושב."

זה בהחלט נחמד שחברות חושבות על הבעיות האלה. אבל עם תאונות דרכים ללא נהג עדיין צצות מדי פעם בחדשות אפילו עם הפעלת הבדיקות המוגבלת ביותר שלהן, הרעיון של לדחוף את הנוסעים רחוק יותר מכל סוג של שליטה ידנית עם ישיבה גמישה מרגיש מסוכן.

ואכן, בעוד שפעם הוצע כי למכונית אפל לא יהיו פקדים ידניים כלל, לפי הדיווחים זה נגנז לעת עתה. בהתחשב בכך, ייתכן שהפטנט הזה אינו מיועד למכונית אפל מהדור הראשון קונבנציונליים יותר, אלא לעוד שנה אחת בהמשך, כאשר מכוניות בנהיגה עצמית הוכיחו שניתן לסמוך עליהן בכל כבישי אמריקה.

דילוג לתוכן